
Ref: EWTGUFL101
FL 101 Kit d'application pour jauge de contrainte avec amplificateur de mesure (Réf. 021.10100)
Équipement complet pour apprendre à utiliser professionnellement les jauges de contrainte
La mesure au moyen de jauges de contrainte est la méthode la plus importante de détermination de la déformation mécanique.
Cette méthode de mesure permet deffectuer des mesures électriques de grandeurs mécaniques.
La technique de mesure basée sur la jauge de contrainte est relativement simple dapplication.
Elle présente une résolution élevée et peut être utilisée directement aux endroits pertinents.
Une jauge de contrainte ne constitue néanmoins pas un appareil de mesure complet.
La jauge de contrainte doit dabord être préparéte par lutilisateur afin dêtre prêt à lemploi après une installation.
La qualité de cette technique de mesure dépend non seulement de la jauge de contrainte, mais surtout du type dapplication et de son exécution.
Les jauges de contrainte fonctionnent avec une fiabilité élevée lorsque les utilisateurs maîtrisent parfaitement lutilisation de ces éléments capteurs sensibles aussi bien sur le plan théorique que sur le plan technique.
Le kit dapplication FL 101 offre tous les outils et aides nécessaires pour procéder à des exercices de base avec les jauges de contrainte.
Pour que les points de mesure puissent fonctionner de manière optimale, les composants sont tout dabord minutieusement préparés, puis équipés des jauges de contrainte correspondantes.
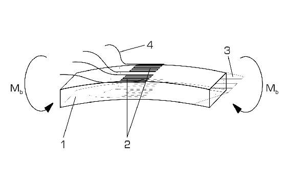
Des adhésifs spéciaux garantissent le transfert sans pertes des déformations du composant vers les jauges de contrainte.
La jauge de contrainte est également protégée contre les effets extérieurs, notamment lhumidité ou les endommagements mécaniques, au moyen de revêtements appropriés.
Des fils de différents types prévus pour le raccordement des jauges de contrainte aux ponts et pour le câblage sont compris dans les accessoires fournis.
Les fils sont fixés aux jauges de contrainte à laide du fer à souder et des cosses à souder fournis comme aides.
Lamplificateur de mesure fournit la tension dalimentation du pont et affiche sous forme de valeurs de tension numériques le désaccord du pont en fonction de la charge.
Laffichage numérique dispose également dune fonction de tarage permettant dexclure linfluence des précharges.
La documentation didactique (manuel spécialisé, script dexercice et vidéo) propose une initiation multimédia aux procédures dinstallation et de raccordement des jauges de contrainte et à la méthode dinterprétation des valeurs de mesure.
Détails techniques
- principes de base de la mesure électrique de grandeurs mécaniques
- préparation du point de mesure
- sélection dune jauge de contrainte appropriée
- fixation, raccordement et câblage de la jauge de contrainte sur des pièces exposées à des sollicitations mécaniques
- protection du point de mesure pour jauge de contrainte contre les effets extérieurs
- interprétation (théorique) des valeurs de mesure
Cette méthode de mesure permet deffectuer des mesures électriques de grandeurs mécaniques.
La technique de mesure basée sur la jauge de contrainte est relativement simple dapplication.
Elle présente une résolution élevée et peut être utilisée directement aux endroits pertinents.
Une jauge de contrainte ne constitue néanmoins pas un appareil de mesure complet.
La jauge de contrainte doit dabord être préparéte par lutilisateur afin dêtre prêt à lemploi après une installation.
La qualité de cette technique de mesure dépend non seulement de la jauge de contrainte, mais surtout du type dapplication et de son exécution.
Les jauges de contrainte fonctionnent avec une fiabilité élevée lorsque les utilisateurs maîtrisent parfaitement lutilisation de ces éléments capteurs sensibles aussi bien sur le plan théorique que sur le plan technique.
Le kit dapplication FL 101 offre tous les outils et aides nécessaires pour procéder à des exercices de base avec les jauges de contrainte.
Pour que les points de mesure puissent fonctionner de manière optimale, les composants sont tout dabord minutieusement préparés, puis équipés des jauges de contrainte correspondantes.
Des adhésifs spéciaux garantissent le transfert sans pertes des déformations du composant vers les jauges de contrainte.
La jauge de contrainte est également protégée contre les effets extérieurs, notamment lhumidité ou les endommagements mécaniques, au moyen de revêtements appropriés.
Des fils de différents types prévus pour le raccordement des jauges de contrainte aux ponts et pour le câblage sont compris dans les accessoires fournis.
Les fils sont fixés aux jauges de contrainte à laide du fer à souder et des cosses à souder fournis comme aides.
Lamplificateur de mesure fournit la tension dalimentation du pont et affiche sous forme de valeurs de tension numériques le désaccord du pont en fonction de la charge.
Laffichage numérique dispose également dune fonction de tarage permettant dexclure linfluence des précharges.
La documentation didactique (manuel spécialisé, script dexercice et vidéo) propose une initiation multimédia aux procédures dinstallation et de raccordement des jauges de contrainte et à la méthode dinterprétation des valeurs de mesure.
Détails techniques
- principes de base de la mesure électrique de grandeurs mécaniques
- préparation du point de mesure
- sélection dune jauge de contrainte appropriée
- fixation, raccordement et câblage de la jauge de contrainte sur des pièces exposées à des sollicitations mécaniques
- protection du point de mesure pour jauge de contrainte contre les effets extérieurs
- interprétation (théorique) des valeurs de mesure
Contenu didactique / Essais
Les grandes lignes
- équipement complet pour lapplication de jauges de contrainte avec connexion et raccordement de jauges de contrainte
- renforcement des capacités techniques lors de lutilisation de la technique de mesure pour jauge de contrainte
Les caractéristiques techniques
Jauges de contrainte: 350 Ohm
- 10x avec grille de mesure montée séparém. pour St
- 10x avec grille de mesure montée en parall. pour St
- 10x avec grille de mesure 90° pour St
- 10x avec grille de mesure 45° pour St
- 10x avec grille de mesure montée séparém. pour Al
Fer à souder: 6W
Câble plat: 6x0,14mm2
Loupe: grossissement 6x
Amplificateur de mesure
- plage de mesure: ±2mV/V
- résolution: 1µV/V
- plage de réglage avec équilibrage à zéro: ±1mV
- tension dalimentation: 10VCC
- équipement complet pour lapplication de jauges de contrainte avec connexion et raccordement de jauges de contrainte
- renforcement des capacités techniques lors de lutilisation de la technique de mesure pour jauge de contrainte
Les caractéristiques techniques
Jauges de contrainte: 350 Ohm
- 10x avec grille de mesure montée séparém. pour St
- 10x avec grille de mesure montée en parall. pour St
- 10x avec grille de mesure 90° pour St
- 10x avec grille de mesure 45° pour St
- 10x avec grille de mesure montée séparém. pour Al
Fer à souder: 6W
Câble plat: 6x0,14mm2
Loupe: grossissement 6x
Amplificateur de mesure
- plage de mesure: ±2mV/V
- résolution: 1µV/V
- plage de réglage avec équilibrage à zéro: ±1mV
- tension dalimentation: 10VCC
Informations logistiques
Dimensions et poids
Lxlxh: 470x360x170mm
Poids: env. 8kg
Lxlxh: 470x360x170mm
Poids: env. 8kg
Poids: 8 Kg Delai de livraison estimé : 12 semaines



